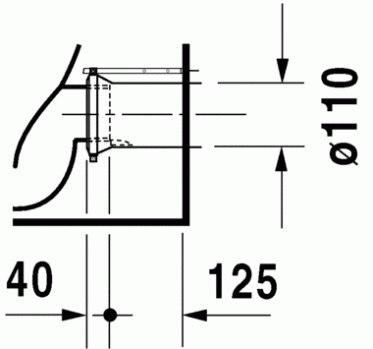
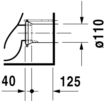
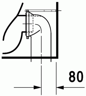
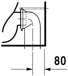
Starck 3

für variablen Wasserzulauf, Tiefspüler, Befestigung inklusive, Abgang waagrecht, EWL Klasse 2

Größe:
360 x 560 mm

Varianten:
6,0 l

Abflußsituationen