Vero

für variablen Wasserzulauf, Tiefspüler, Befestigung inklusive, Abgang waagrecht, EWL Klasse 2

Größe:
370 x 570 mm

Varianten:
6,0 l

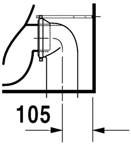
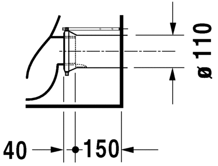
Abflußsituationen